Колючая лента «Концертина»

Лента колючая ЛК «Концертина»

Колючая лента Концертина предназначена для изготовления колючей проволоки Гюрза и Концертина, использование ее в качестве самостоятельного средства ограждения территории возможно, но крайне не рекомендовано из-за низкой прочности на разрыв и возможности ее перерезать простыми ножницами по металлу. Колючая лента Концертина представляет собой штампованную ленту из оцинкованной стали с рядами обоюдоострых шипов по краям. Лента колючая Концертина обладает высокими режущими свойствами и способностью зацепляться за любые объекты.

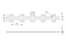
Лента колючая Концертина изготавливается из оцинкованной рулонной стали на автоматическом штамповочном оборудовании по современным техническим условиям. Для изготовления колючей ленты Концертина используется оцинкованная сталь EN 10346 толщиной 0,45 мм с цинковым покрытием 140-200 г/м2. Готовая колючая лента Концертина имеет общую ширину 15,9 мм и участок под обжим сердечника шириной 5,5 мм, что дает возможность армировать ее проволокой от 1,8 до 2,2 мм. Специально разработанная конструкция штампа позволяет получать острые шипы и режущие кромки ленты, а также обеспечивает скругление радиусом 2,5 мм в основаниях шипов для повышения их прочности.

Технические характеристики

Колючая лента
Толщина колючей ленты, мм 0,45
Шаг зубцов колючей ленты, мм 25,5
Длина лезвий колючей ленты, мм 10,5
Радиус скругления основания лезвий, мм 2,5
Стандарт стали EN 10346
Цинковое покрытие, г/м2 140-200
ЛК-А «Концертина»

Диаметр сердечника 2,2 мм
Диаметр колючей проволоки 3,1 мм
Толщина колючей ленты 0,45 мм

ЛК-А «Егоза-Кайман»

Диаметр сердечника 2,8 мм
Диаметр колючей проволоки 3,8 мм
Толщина колючей ленты 0,5 мм

Пиранья-2х6

Ширина (высота) сетки 2,0 м
Диаметр колючей проволоки 3,1 мм
Длина рулона 6 м

Пиранья-2х10

Ширина (высота) сетки 2,0 м
Диаметр колючей проволоки 3,8 мм
Длина рулона 10 м

Пиранья-2,4х10

Ширина (высота) сетки 2,4 м
Диаметр колючей проволоки 3,8 мм
Длина рулона 10 м

Пиранья-2,7х10

Ширина (высота) сетки 2,7 м
Диаметр колючей проволоки 3,8 мм
Длина рулона 10 м