Колючая лента «Егоза»

Лента колючая ЛК «Егоза»

Колючая лента Егоза используется в производстве современной колючей проволоки Егоза-Стандарт и Егоза-Кайман, при этом ее можно использовать как самостоятельное средство ограждения территории, но не желательно этого делать. Причина проста – не армированная колючая лента обладает малой прочностью и может оборваться под сравнительно небольшой нагрузкой, кроме того, ее легко перерезать ножницами по металлу. Конструкция колючей ленты Егоза такова – штампованная лента с рядами острых режущих шипов по обоим сторонам. Шипы ленты расположены так, что они цепляются за любой объект и не отпускают его, а режущие кромки обладают способностью наносить серьезные повреждения.

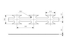
Лента колючая Егоза производится из рулонной оцинкованной стали по современным техническим условиям на автоматическом штамповочном оборудовании. Конструкция штампа для колючей ленты Егоза была разработана с учетом того, чтобы шипы ленты имели максимальную остроту режущих кромок и высокую прочность, для чего в их основании предусмотрено скругление радиусом 2,5 мм. В качестве материала для изготовления колючей ленты Егоза применяется оцинкованная сталь EN 10346 толщиной 0,5 мм с покрытием цинком 140-200 г/м2. Готовое изделие имеет ширину 19 мм и участок для обжатия сердечника шириной 7,5 мм, что позволяет ее армировать проволокой диаметром от 2,5 до 2,8 мм, что соответствует наиболее востребованным типам колючей проволоки Егоза.

Технические характеристики

Колючая лента
Толщина колючей ленты, мм 0,5
Шаг зубцов колючей ленты, мм 36,0
Длина лезвий колючей ленты, мм 21,0
Радиус скругления основания лезвий, мм 2,0
Стандарт стали EN 10346
Цинковое покрытие, г/м2 140-200
ЛК-А «Концертина»

Диаметр сердечника 2,2 мм
Диаметр колючей проволоки 3,1 мм
Толщина колючей ленты 0,45 мм

ЛК-А «Егоза-Кайман»

Диаметр сердечника 2,8 мм
Диаметр колючей проволоки 3,8 мм
Толщина колючей ленты 0,5 мм

Пиранья-2х6

Ширина (высота) сетки 2,0 м
Диаметр колючей проволоки 3,1 мм
Длина рулона 6 м

Пиранья-2х10

Ширина (высота) сетки 2,0 м
Диаметр колючей проволоки 3,8 мм
Длина рулона 10 м

Пиранья-2,4х10

Ширина (высота) сетки 2,4 м
Диаметр колючей проволоки 3,8 мм
Длина рулона 10 м

Пиранья-2,7х10

Ширина (высота) сетки 2,7 м
Диаметр колючей проволоки 3,8 мм
Длина рулона 10 м